RTC62421A: Understanding This Component

R.Mgmotor 84 views
RTC62421A: Understanding This Component

RTC62421A: Let’s Dive In, Guys!

Hey everyone! Today, we’re going to tackle a topic that might sound a bit technical, but trust me, it’s super important if you’re into electronics or even just curious about how things work. We’re talking about the RTC62421A . Now, you might be wondering, “What on earth is an RTC62421A?” Well, buckle up, because we’re about to break it down in a way that’s easy to understand and, dare I say, even fun! This little component plays a crucial role in many devices we use every day, and understanding its function can give you a real edge, whether you’re a hobbyist, a student, or just someone who likes to know what’s going on under the hood. So, let’s get this party started and demystify the RTC62421A together. We’ll cover what it is, what it does, why it’s important, and where you might encounter it. By the end of this, you’ll be an RTC62421A expert, ready to impress your friends or ace that next project. Let’s get to it!

What Exactly is the RTC62421A?

Alright, so, what is this RTC62421A thing? At its core, the RTC62421A is a type of integrated circuit (IC), which basically means it’s a tiny electronic component with a whole bunch of transistors and other bits packed onto a single chip. Think of it as a miniature, super-smart brain for specific tasks. The “RTC” part often stands for “Real-Time Clock,” which gives us a pretty big hint about its primary function. This isn’t just any clock; it’s designed to keep track of the actual time – hours, minutes, seconds, and often even the date, day of the week, and year. It does this independently of the main processor in a system, meaning it keeps ticking even when the main part of the device is turned off or in a low-power state. This is incredibly useful for things like scheduling tasks, logging events with precise timestamps, or ensuring your devices wake up at the right time. Without a dedicated component like the RTC62421A, the main processor would have to constantly run just to keep time, which would drain a lot of power and be incredibly inefficient. So, in simple terms, it’s a dedicated, low-power timekeeper that ensures your gadgets know what time it is, all the time.

The Nitty-Gritty: How Does the RTC62421A Work?

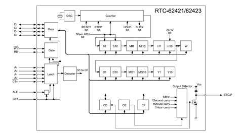
Now, let’s get a little deeper into how the magic happens with the RTC62421A . Most real-time clock ICs, including the RTC62421A, rely on a crystal oscillator . You’ve probably seen these little metal or ceramic rectangular components on circuit boards – they look a bit like tiny silver bricks. These crystals, usually made of quartz, have a very precise physical property: when you apply a voltage, they vibrate at an incredibly stable and specific frequency. This vibration is super consistent, making it a perfect ‘heartbeat’ for keeping accurate time. The RTC62421A takes this stable vibration from the crystal, counts it, and translates those counts into seconds, minutes, hours, and so on. It has internal counters and logic circuits to manage all of this. One of the coolest features of many RTCs, and likely the RTC62421A, is their ability to operate on a very small amount of power, often just a few microamps. How do they manage this? Usually, they have a battery backup . This could be a coin cell battery or a small rechargeable battery. When the main power source to the device is cut off, the RTC62421A automatically switches to this battery backup, ensuring that its internal clock keeps running without interruption. This is why your digital watch still knows the time after you take it off, or why your computer doesn’t forget the date every time you turn it off. The RTC62421A is designed to be highly accurate, but like all electronic components, environmental factors like temperature can have a slight effect. More advanced RTCs might include compensation mechanisms to counteract these temperature drifts, aiming for even greater precision. The way it interfaces with the main system is also important. It usually communicates using standard protocols like I2C or SPI, allowing the main processor to easily read the current time or set a new time when needed. So, it’s a clever combination of a stable oscillator, precise counting circuits, ultra-low-power operation, and a reliable communication interface that makes the RTC62421A such a valuable component.

Why is the RTC62421A So Crucial?

Let’s talk about why we even care about the RTC62421A . You might think, “It’s just a clock, big deal!” But honestly, guys, its importance is often underestimated. In the world of electronics and computing, accurate timekeeping is fundamental . Think about it:

  • Data Logging and Event Sequencing: In industrial systems, scientific instruments, or even just your smart home devices, knowing when something happened is critical. The RTC62421A provides the precise timestamps needed to reconstruct events in the correct order. Imagine trying to troubleshoot a system failure if you didn’t know the sequence of alarms – chaos!
  • Power Management: Many modern devices rely on scheduled wake-up events to perform tasks and then go back to sleep to save power. The RTC62421A acts as the alarm clock for the entire system, waking it up only when necessary. This is a huge part of making battery-powered devices last longer.
  • Network Synchronization: In computer networks, all devices need to be synchronized to a common time source for protocols to work correctly, especially for logging and security. While larger systems might use network time protocols (NTP), the initial time setting and backup often rely on an onboard RTC.
  • User Experience: Ever set an alarm on your phone or programmed your smart thermostat? That functionality directly relies on an RTC. It ensures your settings are remembered and executed precisely when you want them to be.
  • System Boot-up and Initialization: When a computer or embedded system starts up, it often needs to know the current date and time to initialize various services, format logs correctly, or apply time-sensitive configurations. The RTC provides this crucial starting point.

Without a reliable RTC like the RTC62421A, these essential functions would be either impossible, incredibly power-hungry, or prone to errors. It’s the silent, unsung hero that keeps our digital world ticking along smoothly and accurately. It’s the backbone of timing in countless applications, making sure everything happens at the right moment, every single time. It’s not just about telling time; it’s about enabling intelligent behavior and efficient operation in our electronic devices.

Where Can You Find the RTC62421A?

So, you’re probably wondering, “Where in the heck am I going to see this RTC62421A in action?” The truth is, this little guy is a workhorse and pops up in a surprising variety of places. Because it’s so good at keeping time with minimal power, it’s a go-to component for embedded systems. Think about your smartphones and tablets . While they have sophisticated operating systems, they still need a reliable RTC to keep track of time when the device is off or in standby. This ensures your alarms go off and your calendar events are noted correctly. Then there are personal computers and laptops . Every motherboard has an RTC chip, often paired with a small coin-cell battery (like a CR2032), to maintain the system clock. This is what keeps your computer’s date and time accurate even after it’s been unplugged for weeks. Embedded systems are another huge area. This includes things like:

  • Routers and Network Equipment: Keeping track of network activity, logs, and internal operations requires accurate timing.
  • Point-of-Sale (POS) Systems: Recording transactions with precise timestamps is vital for business operations and auditing.
  • Industrial Control Systems: Many automated processes rely on timed sequences and event logging.
  • Automotive Electronics: From infotainment systems to engine control units, accurate timekeeping is often necessary for various functions and data logging.
  • Medical Devices: Equipment used for monitoring patients or conducting tests often needs to log data with precise timestamps.
  • IoT (Internet of Things) Devices: Smart thermostats, smart security cameras, and other connected devices use RTCs to manage their operations and communicate effectively.

Even devices that might seem simple, like digital signage displays or set-top boxes , often incorporate an RTC to manage schedules or internal processes. Essentially, any electronic device that needs to maintain an accurate count of time, especially when power might be intermittent or needs to be conserved, is a potential home for a component like the RTC62421A. It’s a foundational piece of technology that enables a vast array of modern conveniences and functionalities. So, next time you check the time on your phone or rely on a device to perform a scheduled task, give a little nod to the unsung hero – the RTC – that’s likely making it all happen behind the scenes.

The Future of RTCs and the RTC62421A

Looking ahead, the role of components like the RTC62421A isn’t going anywhere; in fact, it’s likely to become even more critical. As we move further into an era dominated by the Internet of Things (IoT), where billions of devices will be interconnected, the need for precise and reliable time synchronization across these devices will skyrocket. Imagine a smart city where traffic lights, energy grids, and public transport all need to operate in perfect sync – accurate timekeeping from robust RTCs is the bedrock of such systems. Furthermore, the demand for ultra-low-power consumption is only increasing, especially for battery-operated devices that need to last for months or even years without a charge. RTC manufacturers are constantly innovating to push the boundaries of power efficiency, making components like the RTC62421A even more capable in these demanding applications. We’re also seeing advancements in accuracy and stability . While quartz crystals are already very good, research is ongoing into alternative timing technologies that could offer even greater precision and resistance to environmental changes like temperature fluctuations. This could be crucial for high-precision scientific applications or advanced navigation systems. Integration is another key trend. In the future, you might see RTC functionality being integrated more deeply into larger system-on-chips (SoCs), rather than being a discrete component. However, the fundamental need for a dedicated, low-power timekeeping unit will remain. The RTC62421A, or its future iterations, will continue to be the silent guardian of time in our increasingly complex electronic world. Its ability to provide a stable, low-power time reference is a fundamental requirement that won’t be easily replaced. It’s a testament to solid engineering that such a seemingly simple function remains indispensable. So, while the technology around it evolves, the core purpose of the RTC – keeping time accurately and efficiently – will ensure its continued relevance for years to come. It’s a classic piece of tech that just keeps on giving!

Conclusion: The Humble Yet Mighty RTC62421A

Alright guys, we’ve journeyed through the fascinating world of the RTC62421A . We’ve uncovered what it is – a dedicated Real-Time Clock integrated circuit. We’ve peeked under the hood to understand how it works, relying on crystal oscillators and low-power design. We’ve emphasized its crucial role in everything from your smartphone to complex industrial systems, highlighting why accurate timekeeping is non-negotiable in modern electronics. And we’ve even speculated on its future, which looks as bright and steady as its ticking seconds. It’s easy to overlook these small components, but the RTC62421A is a prime example of how a single, specialized chip can enable a vast array of functionalities that we often take for granted. It’s the unsung hero that ensures your data is logged correctly, your alarms go off on time, and your devices operate efficiently. So, the next time you interact with any piece of technology that seems to know what time it is, remember the humble, yet mighty, RTC62421A. It’s working diligently behind the scenes, keeping our digital world synchronized and functional. Pretty neat, right? Keep exploring, keep learning, and appreciate the incredible engineering that goes into even the smallest parts of our tech!